Fda Regulations For Food Preparation
Food Safety In Your Kitchen Fda
Food Safety In Your Kitchen Fda
Handling Food Safely While Eating Outdoors Fda
Understanding Key Usda And Fda Food Labeling Differences Part One
Food Safety Tips For Healthy Holidays Fda
Understanding Key Usda And Fda Food Labeling Differences Part One
By Group 2 Food Safety Regulations And Standards Ppt Download
Food First Blog Tip Of The Week Facility Inspection Records R
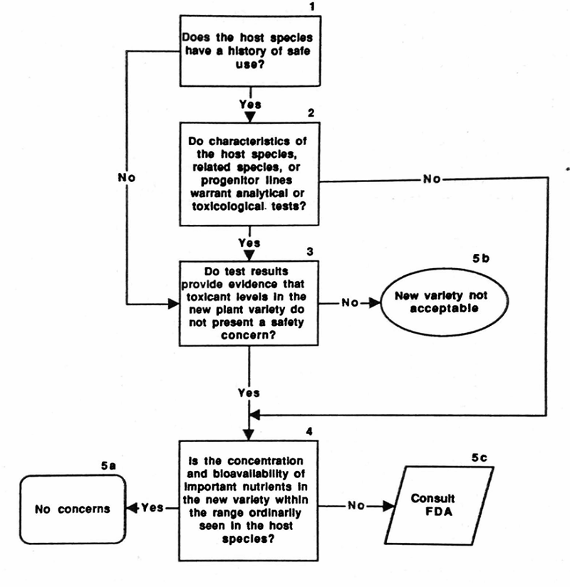
Statement Of Policy Foods Derived From New Plant Varieties Fda
Https Www Fda Gov Media 83073 Download
Statement Of Policy Foods Derived From New Plant Varieties Fda
Fda Food And Beverage Labeling Requirements Registrar Corp
Fda Food Labeling Requirements Foodpackaginglabels Net
Statement Of Policy Foods Derived From New Plant Varieties Fda
General Fda Requirements For The Food Industry
Guidance Regulation Food And Dietary Supplements Fda
Drug Development Process Abbreviations Bla Biologics License
Fda Grants 6 Month Period Of Enforcement Discretion For Nutrition
The 7 Major Rules Of The Fda S Food Safety Modernization Act Fsma
The Us Food Safety Modernization Act Fsma What Must I Do To
How To Get Fda Approval Registrar Corp
Who Regulates Pet Food In The Us Truth About Pet Food
Government Shutdown Curtails F D A Food Inspections The New
Kitchen Restaurant Food Safety
Thailand Food And Agricultural Import Regulations And Standards
Food Control Agency And Their Roles
Fda Hemp Industry Prepare For Friday Hearing On Cbd Regulation
Statement Of Policy Foods Derived From New Plant Varieties Fda
New Fda Regulations On Food Preparation
F D A Issues Guidance On Dual Column Labeling 2019 12 31 Food
Usda Vs Fda What S The Difference Eater
Fry S Food Stores Goodcook Disposable Poly Food Prep Gloves
Statement Of Policy Foods Derived From New Plant Varieties Fda
Fda Food Safety Modernization Act Wikipedia
Requirements For Gloves Hair Nets In Restaurants
Solved Match The Federal Regulatory Agency With Food Safe
Fda Issues Final Guidance For Nutritional Labeling Nosh
Regardd Regulatory Guidance For Academic Research Of Drugs And
Ppt Webinar On Good Practices In Preparing For An Fda Inspection
File Fda Letter Describing Salvia Hispanica Pdf Wikimedia Commons
Statement Of Policy Foods Derived From New Plant Varieties Fda
Assessment And Management Of Seafood Safety And Quality
Implications Of The 2011 Fda Food Safety Modernization Act On
Choosing A Package Designer Who Understands Federal Regulations
F D A Issues Guidance On Dual Column Labeling 2019 12 31 Food
Kitchen Hygiene Food Safety Images
Webinar Series Reduce The Burden Of Fmsa Compliance While
Daxwell Embossed Food Preparation Poly Mitts One Size Fits All
Reorganization Of The Office Of New Drugs With Corresponding
Regulation Of Food And Dietary Supplements By The U S Food And
Https Www Fda Gov Media 97347 Download
Improving Food Regulation In 2019
Us Fda Approval Process For Medical Devices
Food Contact Materials And Food Safety Regulations Ism
Knock Knock Fda Is Here Be Prepared For A Regulatory Inspection
Effective Dates And Fda Requirements In The Fda Food Safety
5 Essentials Of Food Industry Uniforms For Haccp Compliance
It S Not Just You Fda Regulatory Requirements Really Are
Food Rules And Regulations Virginia Cooperative Extension
2017 Awt Fall Analyst By Association Of Water Technologies Issuu
Pdf The Safety And Regulation Of Natural Products Used As Foods
New Fda Regulations On In Store Prepared Food Service
Preparing Specialty Lab Data For Fda Submission In The New
Restaurants Prepare To Adopt New Fda Menu Labeling Regulations
Https Www Chlpi Org Wp Content Uploads 2013 12 50 State Food Regs March 2018 V2 Pdf
National Cannabis Industry Association S Response To The U S Food
America S Cherry Pies May Soon Feature Fewer Cherries Here S Why
Causes Of Detentions And Rejections In International Fish Trade
Do And Don Ts In Kitchen Safety
Prepare Well For New Fda Compliance Rules Meazureup
Https Www Fda Gov Media 87140 Download
Are You Ready For The Fsma Final Rules 2016 04 25 Food
Food Safety And Sanitation Florida Department Of Health
The Complex Regulatory Landscape For Natural Flavor Ingredients
Preparing For Fda S Sanitary Transportation Of Food Regulations
Are Your Disposable Gloves Food Safe Food Quality Safety
Preparing Specialty Lab Data For Fda Submission In The New
Food And Drug Administration Fda Regulations Fedex Canada
Fda Regulations Archives Menucalc
California Food Manufacturer To Stop Production After Food Safety
How To Comply With Food Contact Regulations In Usa
Fda Launches Food Safety Dashboard To Track Fsma Progress Cidrap
Surprise Be Prepared For An Fda Inspection At Your Craft Brewery
What Is Fsma Safe Food Alliance
Fda Nutrition Facts Label Compliance Nicelabel
Pet Food Recalls And Regulation Buzz
2020 Fda Regulations For Food Labeling Are You Compliant Labelcalc
New Lab Laws Technology 2016 02 15 Prepared Foods
Fda Regulation Of Adhesives In Food Packaging Food Safety Magazine
Food Safety Sense Proper Ice Handling Poster Compliance Poster
Fda Gearing Up For New Era Of Smarter Food Safety
Fda And The Government Shutdown Foods You May Want To Avoid Cnn
Menu Labeling Checklist Infographic Hotschedules By Fourth
Asmscience The Current State Of The
Preparing For The Fda S Menu Labeling Regulations Esha Research
All B C News Bergeson Campbell
Health Inspection Checklist How To Prepare For A Health Inspection
The 7 Major Rules Of The Fda S Food Safety Modernization Act Fsma


Comments
Post a Comment